Feder für Handschuhfach
Feder für Handschuhfach
Hallo Leute,
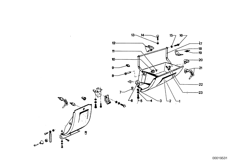
ich habe eine Bitte an Euch. Und zwar bitte ich um eine Info, wie bzw. wo die Feder Nr. 19 für das Handschuhfach eingebaut wird. Ich habe leider keine Bohrung bzw. Halterung weder auf der Welle noch am Blech des Armaturenbrettes finden können.
Wäre super wenn mir diesbezüglich jemand Bilder bzw. eine Skizze zukommen lassen könnte.
Viele Grüße und herzlichen Dank
E9 Fan
ich habe eine Bitte an Euch. Und zwar bitte ich um eine Info, wie bzw. wo die Feder Nr. 19 für das Handschuhfach eingebaut wird. Ich habe leider keine Bohrung bzw. Halterung weder auf der Welle noch am Blech des Armaturenbrettes finden können.
Wäre super wenn mir diesbezüglich jemand Bilder bzw. eine Skizze zukommen lassen könnte.
Viele Grüße und herzlichen Dank
E9 Fan
- Dateianhänge
-
- Feder Handschuhfach.pdf
- (26.1 KiB) 429-mal heruntergeladen
-
- Handschuhfach.png (24 KiB) 17795 mal betrachtet
- Christoph, Bonn
- Beiträge: 883
- Registriert: Mo 30. Dez 2013, 22:08
- Wohnort: Bonn
Re: Feder für Handschuhfach
Voila'
es sind 2 Federn,
jeweils in den Bohrungen der Scharniere
und links an einem eingenieteten Blech an der Lüftung,
und rechts an einer "Blechnase"
es sind 2 Federn,
jeweils in den Bohrungen der Scharniere
und links an einem eingenieteten Blech an der Lüftung,
und rechts an einer "Blechnase"
Re: Feder für Handschuhfach
Hallo Christoph,
vielen vielen Dank für die Info, ich werde mich gleich an die Arbeit machen.
Grüße aus Neu-Ulm
Franz
vielen vielen Dank für die Info, ich werde mich gleich an die Arbeit machen.
Grüße aus Neu-Ulm
Franz
Re: Feder für Handschuhfach
Hallo
Schaut doch mal bitte in Eurer Handschuhfach, ob neben Christoph noch jemand an der linken Seite eine Feder hat. Der ETK sagt es gibt nur eine Feder, und ich hab bei all meinen Schlachtungen und auch in meinen eigenen Autos noch nie eine 2. Feder gesehen.....
Bin gespannt, ob das mit der 2. Feder eine einmalige Sache ist.
Gruß Gerhard
Schaut doch mal bitte in Eurer Handschuhfach, ob neben Christoph noch jemand an der linken Seite eine Feder hat. Der ETK sagt es gibt nur eine Feder, und ich hab bei all meinen Schlachtungen und auch in meinen eigenen Autos noch nie eine 2. Feder gesehen.....
Bin gespannt, ob das mit der 2. Feder eine einmalige Sache ist.
Gruß Gerhard
Re: Feder für Handschuhfach
Bei mir ist auch nur eine Feder rechts. 3.0 CS von 1974.
Grüsse;
Willy
Grüsse;
Willy
-
Ulrich 3.0 CSA
Re: Feder für Handschuhfach
Bei meinem 3.0 CS von 1973 ist nur rechts eine Feder.
Links sind aber Löcher als Aufnahme vorhanden!?
Gruß Uli
Links sind aber Löcher als Aufnahme vorhanden!?
Gruß Uli
- Andreas_Buchen
- Beiträge: 46
- Registriert: Sa 22. Feb 2014, 13:37
- Wohnort: Buchen/Odenwald
Re: Feder für Handschuhfach
Bis jetzt habe ich immer nur eine Feder vorgefunden.
Gruß Andreas
Gruß Andreas
Re: Feder für Handschuhfach
Hallo zusammen, eine Feder rechts, 73er 3.0 CSI.
Beste Grüße
Kalle
Beste Grüße
Kalle
- Christoph, Bonn
- Beiträge: 883
- Registriert: Mo 30. Dez 2013, 22:08
- Wohnort: Bonn
Re: Feder für Handschuhfach
Also doch Pressefahrzeug (Ich habe ja die Nr. 17)
Damit der interessierten Fachpresse 1974 nicht das Handschuhfach mit einem "KLOCK" auf die Knie fällt.
;-)
Und so sengt es sich immer noch wie 1974 schön "gedämmpft" nach unten, ganz sachte....
:-)
Damit der interessierten Fachpresse 1974 nicht das Handschuhfach mit einem "KLOCK" auf die Knie fällt.
;-)
Und so sengt es sich immer noch wie 1974 schön "gedämmpft" nach unten, ganz sachte....
:-)
Re: Feder für Handschuhfach
Hallo Chrissi
Ich würde "Bastelkarre" dazu sagen:-)
Gruß Gerhard
Ich würde "Bastelkarre" dazu sagen:-)
Gruß Gerhard
-
Ulrich 3.0 CSA
Re: Feder für Handschuhfach
Die Zweite Feder baue ich auf jeden Fall ein...es nervt ja schon wenn das volle Handschfach runterknallt
Und wenn die Löcher für die zweite Feder, die übrigens immer noch bei BMW Original lieferbar ist, schon da sind...rein mit der Feder!
Gruß Uli
Und wenn die Löcher für die zweite Feder, die übrigens immer noch bei BMW Original lieferbar ist, schon da sind...rein mit der Feder!
Gruß Uli
- Christoph, Bonn
- Beiträge: 883
- Registriert: Mo 30. Dez 2013, 22:08
- Wohnort: Bonn
Re: Feder für Handschuhfach
Sagt der "M6-Motor-ins-Coupe-Einbauer" und "Dachabschneider" !!Gerhard hat geschrieben:Hallo Chrissi
Ich würde "Bastelkarre" dazu sagen:-)
Gruß Gerhard
lg
Chrissi
-
thomas klemstein
- Beiträge: 45
- Registriert: Do 8. Mai 2014, 12:26
Re: Feder für Handschuhfach
Hallo Jungs,
ich hab mal nachgeschaut.
ich hab auch so ein wertvolles 2-Federn Auto.
Gruß und bis Samstag,
Thomas
ich hab mal nachgeschaut.
ich hab auch so ein wertvolles 2-Federn Auto.
Gruß und bis Samstag,
Thomas
Re: Feder für Handschuhfach
Hallo
Dann hab ich die Lösung: 2 Federn ist die Bonner Ausführung, vielleicht haben die Besitzer dickere Geldbeutel im Handschuhfach liegen, dementsprechend ist eine erhöhte Federkraft nötig:-)
Oder nur in Eurer Niederlassung wurden die Federn laut "Serviceinformation" nachgerüstet :-)
Es bleibt spannend.....
Gruß Gerhard
Dann hab ich die Lösung: 2 Federn ist die Bonner Ausführung, vielleicht haben die Besitzer dickere Geldbeutel im Handschuhfach liegen, dementsprechend ist eine erhöhte Federkraft nötig:-)
Oder nur in Eurer Niederlassung wurden die Federn laut "Serviceinformation" nachgerüstet :-)
Es bleibt spannend.....
Gruß Gerhard
Re: Feder für Handschuhfach
Hi,
ochnee, jetzt habe ich zu lange gebraucht zum Nachschauen und Gerhard hat mir den BastelkarreGag weggeschnappt. .... ;-)
Mein Auto, im August 1972 erstzugelassen im Saarland, hat auch nur eine rechte Feder.
Gruß,
Stefan
ochnee, jetzt habe ich zu lange gebraucht zum Nachschauen und Gerhard hat mir den BastelkarreGag weggeschnappt. .... ;-)
Mein Auto, im August 1972 erstzugelassen im Saarland, hat auch nur eine rechte Feder.
Gruß,
Stefan
Re: Feder für Handschuhfach
Hallo Stefan
Ganz ehrlich,,,, ich hatte mich schon die ganze Zeit gefragt wo du bist :-)
Jetzt fehlt nur noch Wolfgang, dann wäre die alte Dummschwätzer-Truppe wieder komplett :-))
Gruß Gerhard
Ganz ehrlich,,,, ich hatte mich schon die ganze Zeit gefragt wo du bist :-)
Jetzt fehlt nur noch Wolfgang, dann wäre die alte Dummschwätzer-Truppe wieder komplett :-))
Gruß Gerhard
Re: Feder für Handschuhfach
Hi Gerhard
ich komme nicht mehr zu so viel. ... War am Freitag auf einem Metal-Festival, musste mich davon regenerieren und zack war es schon wieder Montag.
Der Wolfgang ist jetzt glaube ich eher bei den Sternefahrern, müsste ihn mal fragen, ob sich da die Seitenwände und Radläufe nicht so sehr wellen und verziehen wie beim e9 beim grobmotorischen Einschweißen. Aber es geht ihm glaube ich gut.
Gruß ,
Stefan
ich komme nicht mehr zu so viel. ... War am Freitag auf einem Metal-Festival, musste mich davon regenerieren und zack war es schon wieder Montag.
Der Wolfgang ist jetzt glaube ich eher bei den Sternefahrern, müsste ihn mal fragen, ob sich da die Seitenwände und Radläufe nicht so sehr wellen und verziehen wie beim e9 beim grobmotorischen Einschweißen. Aber es geht ihm glaube ich gut.
Gruß ,
Stefan
Re: Feder für Handschuhfach
Hallo Leute,
leider ist die Feder lt. BMW ClassicShop nicht mehr lierfbar und mein BMW Händler kann auch nichts finden.
Jetzt meine Frage an Euch, kann mir jemand diese Feder(n) anbieten?
Viele Grüße und schönen Dank im Voraus.
Franz aus Neu-Ulm
leider ist die Feder lt. BMW ClassicShop nicht mehr lierfbar und mein BMW Händler kann auch nichts finden.
Jetzt meine Frage an Euch, kann mir jemand diese Feder(n) anbieten?
Viele Grüße und schönen Dank im Voraus.
Franz aus Neu-Ulm